Câblage et tableau électrique : Les règles s’appliquant aux installations électriques sont décrites par la norme NF C 15-100. Elles garantissent votre sécurité et permettent de répondre à tous vos besoins dans la maison.
Électricité et câblage d’une maison individuelle : la norme NF C 15-100
La norme NF C 15-100 fixe les règles de conception, de réalisation et d’entretien des installations électriques basse tension en France. Elle offre aux occupants plus de garantie, plus de sécurité, un meilleur confort et un habitat évolutif..
Régulièrement mise à jour, elle prend en compte les évolutions des technologies et les exigences de sécurité.
Attention : toutes les installations, neuves ou rénover doivent respecter cette norme.
Points fondamentaux
- L’habitation doit impérativement comporter un circuit de terre raccordé sur une prise de terre.
- Un appareil général de coupure et de protection (disjoncteur de branchement ou d’abonné) doit être situé en tête de tableau, en aval du compteur électrique.
- Dans certaines régions, un appareil de protection contre la foudre (parafoudre) est obligatoire.
- Tous les circuits doivent être protégés par des appareils différentiels et des appareils de protection contre les courts-circuits.
- Dans la salle de bains, des volumes de protection sont définis.
- Les circuits d’éclairage et les circuits de prise de courant font l’objet de règles d’installation précises.
- La norme impose un certain nombre de prises de courant par pièce et par circuit.
- La norme impose la présence d’un coffret de communication et définit l’installation des prises spécifiques.
- Dans le neuf, Tableau électrique et coffret de communication doivent être installés dans la Gaine Technique Logement.
Câblage et tableau électrique : En amont du tableau électrique
Compteur électrique
Placé à l’intérieur de l’habitation (tout au moins pour les versions les plus récentes), il comptabilise la consommation d’électricité. Électronique, il assure la gestion des options tarifaires, ainsi que le relevé de consommation automatique.


Disjoncteur d’abonné ou de branchement
Placé en tête d’installation, il coupe le courant dans le cas d’une consommation supérieure à celle souscrite dans l’abonnement. Il protège également les personnes contre les contacts indirects et prévient des risques d’incendie en surveillant les défauts d’isolement. Il assure une sélectivité totale avec les interrupteurs différentiels installés en aval, afin que seul le départ ayant le défaut d’isolement soit mis hors tension.
C’est aussi un interrupteur général qui permet une coupure manuelle d’urgence en cas de problème. Le disjoncteur d’abonné doit être installé par un professionnel, et doit être plombé par le fournisseur d’électricité après réglage du calibre limitant la puissance au contrat souscrit (15, 30, 45, 60 ou 90 A).

Goulotte Technique de Logement
Dans une construction neuve, le tableau électrique doit être installé dans la » Goulotte Technique de Logement « . Il s’agit d’un volume de 0,45 ou 0,60 m x 0,20 m, du sol au plafond, strictement réservé aux courants électriques (tableau d’abonné, téléphone, alarmes, communications, TV…) à l’intérieur du logement ou dans un local annexe directement accessible (garage communicant directement avec la maison par exemple). En rénovation, lorsque la règle ci-dessus est irréalisable, il faut toutefois éviter d’installer le tableau dans un endroit humide ou à proximité de tuyaux d’eau et de gaz.
Pour les personnes handicapées, la Gaine Technique Logement doit être située au niveau d’accès de l’unité de vie et directement accessible depuis celle-ci. Par exemple, elle peut être située dans le garage si celui-ci est au même niveau que la maison et communique directement avec elle.
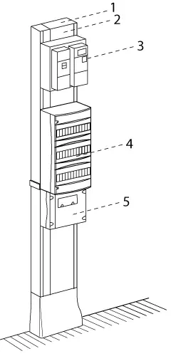
1. Cloison de séparation
2. Goulotte
3. Platine de branchement et disjoncteur d’abonné
4. Tableau de répartition : courant fort
5. Tableau de communication: courant faible (téléphone, TV, Informatique)

Câblage et tableau électrique : Le tableau électrique
Emplacement du tableau
Le tableau de répartition doit être facilement accessible. Cependant, comme chacun de ses éléments sera apparent, ainsi que toutes les canalisations, sa pose ne sera pas esthétique. C’est la raison pour laquelle il est le plus souvent implanté dans un garage, un cellier ou une cave (dans tous les cas dans un endroit dont l’humidité est maîtrisée). Il sera placé en hauteur, hors de la portée des enfants. Bien sûr, il doit également être proche du tableau d’abonné auquel il sera relié. Prévoir par précaution d’accrocher une lampe torche à coté en cas de coupure générale.
Tableau
Le tableau de répartition est placé dans un coffret dont la taille est proportionnelle au nombre de circuits électriques de l’installation. En effet, au minimum, un circuit est protégé par un module de protection auquel s’ajoute, en fonction des circuits, un module de protection différentielle. Dans ce coffret passera également la prise de terre. Il ne faut pas omettre de prévoir assez de place pour d’éventuelles évolutions si l’on agrandit l’habitation, si l’on restructure l’installation ou si l’on rajoute des appareils électriques.
Toute intervention sur une installation électrique doit se faire avec des outils isolés après avoir coupé au préalable l’arrivée de courant au disjoncteur de branchement.

Choix du tableau
La taille du tableau dépend du nombre d’appareils à installer et de leur encombrement.
La majorité des appareils sont « modulaires » : ils ont des dimensions standard, et se fixent de la même manière sur les rails du tableau. Seule leur largeur varie, elle se mesure en nombre de modules (un module a une largeur de 17,5 mm). Choisir la solution qui convient : tableau nu, coffret pré équipé, coffret étanche. Les coffrets pré équipés simplifient la vie, ils sont munis d’interrupteurs différentiels et de disjoncteurs précâblés pour faire gagner du temps. Ils sont évolutifs : des emplacements libres permettent de rajouter des modules.
Pour couvrir des besoins futurs, prévoir un tableau plus grand que ses besoins actuels. En effet, une installation électrique évolue en fonction du logement, des technologies et de la norme : il faudra certainement rajouter des protections et des commandes au tableau.
Câblage et tableau électrique : Les composants d’un tableau électrique
Protection contre la foudre et mise à la terre
Une prise de terre permet d’écouler les courants de fuite ou de défauts vers la terre. Une bonne mise à la terre est une condition impérative pour que les interrupteurs différentiels puissent assurer leur fonction de protection de personnes.
Toutes les masses métalliques d’un bâtiment doivent être mises à la terre (liaison équipotentielle principale) en les raccordant à un conducteur de protection (ou conducteur de terre) de couleur vert jaune.
- Toutes les canalisations métalliques d’eau, de chauffage, de gaz.
- Les corps des appareils sanitaires métalliques au sol, les autres éléments tels que les huisseries métalliques.
- Les masses des appareils électroménagers.
- Les salles de bains et les salles d’eau doivent comporter une liaison équipotentielle locale, raccordée au bornier de terre du tableau.
- La borne principale de terre est soit dans le tableau avec le bornier principal de terre, soit séparée.
En fonction de la zone géographique de l’habitation, il pourra être prudent d’installer un parafoudre en tête de tableau de répartition. Un parafoudre ne peut être installé que si le disjoncteur de branchement du tableau électrique EDF est différentiel.
Le parafoudre secteur et le parafoudre téléphonique protègent les équipements sensibles contre les effets de la foudre : un seul choc peut suffire à les endommager et ce, même dans les régions rarement exposées. Ils sont obligatoires (norme NFC 15-100) dans les régions à forte densité de foudroiement (si alimentation aérienne) et dans tous les bâtiments équipés d’un paratonnerre.
Protection des personnes contre les électrocutions
En association avec un conducteur de protection connecté à la terre, l’interrupteur différentiel détecte les fuites de courant dues à des défauts d’isolement et prévient tous risques d’électrocution en coupant immédiatement l’alimentation du circuit concerné. Sa présence est obligatoire pour tous les circuits et la norme NFC 15-100 en précise le nombre minimum à installer en fonction de la superficie du logement.
Choix d’un interrupteur différentiel
L’interrupteur différentiel coupe instantanément le circuit lors d’un contact accidentel avec le courant. Pour une protection optimale des personnes, l’interrupteur différentiel doit avoir une sensibilité de 30 ma. La norme NFC 15-100 impose que tous les circuits du logement soient protégés par un différentiel adapté (ac, a, hpi).
- Le type ac permet de se protéger contre les courants de défaut ( exemple : on touche une partie sous tension) à composante alternative. On l’utilise pour protéger la plupart des circuits sauf les circuits spécialisés tels que plaque de cuisson et lave-linge.
- Le type a en plus des courants de défauts détectés par le type ac, permet un déclenchement en présence de courant redressés. il doit obligatoirement protéger les circuits spécialisés tels que plaque de cuisson et lave-linge.
- Le type hpi présente une immunité renforcée aux déclenchements intempestifs. Il est adapté à la protection des circuits alimentant un congélateur ou du matériel informatique.

Câblage et tableau électrique : Protection du circuit électrique
Tout circuit doit comporter à son origine un dispositif de protection contre les surintensités : le disjoncteur ou le coupe-circuit.
Ce dispositif coupe immédiatement le courant dans certains cas.
- Court-circuit (contact phase et neutre).
- Surchauffe des câbles électriques lorsqu’on branche un appareil trop puissant ou trop d’appareils sur un même circuit. Il évite ainsi les échauffements et les risques d’incendie.
Les disjoncteurs permettent maintenant une visualisation immédiate du circuit défaillant. Pas de fusible à changer, il suffit de réarmer le disjoncteur après élimination du défaut. De plus, ils sont équipés d’un porte étiquette pour repérer facilement chaque circuit.
Câblage et tableau électrique : Autres composants du tableau électrique
Télérupteur
C’est un module de commande d’éclairage. Il permet d’allumer et d’éteindre une pièce par boutons poussoirs depuis 3 ou 4 points différents. Il peut aussi être installé dans une boîte de dérivation, au niveau de l’installation. C’est alors un télérupteur non modulaire.

Contacteur jour/nuit
Indispensable si l’on opte pour un abonnement EDF heures creuses, ce module est un interrupteur commandé par une horloge, qui ouvre et ferme le circuit du chauffe-eau selon les conditions tarifaires d’EDF.

Minuterie
C’est un module de commande temporisée de circuit d’éclairage. Elle permet l’extinction automatique de l’éclairage sous un délai choisi en amont. Elle peut être associée à un préavis d’extinction, module qui diminue l’intensité lumineuse quelques instants avant l’extinction totale de l’éclairage.

Délesteur
Le délesteur améliore le confort en allégeant les dépenses d’électricité. Il permet de souscrire un contrat EDF inférieur sans risquer de déclencher intempestivement le disjoncteur général. Si la consommation totale dépasse le contrat souscrit auprès d’EDF, le délesteur coupe le circuit non prioritaire jusqu’à obtention d’une consommation compatible avec le contrat EDF. Il existe 2 types de délesteur : 1 circuit ou 3 circuits.

Câblage et tableau électrique : Coffret de communication
Toutes les prises de communication doivent être raccordées à un coffret de communication.
La norme NF C 15-100 précise que le coffret doit être équipé.
- DTI (Dispositif de Terminaison Intérieure) au format RJ 45, pour les installations faisant l’objet d’un permis de construire déposé à partir du 1er janvier 2008.
- Répartiteur TV.
- Système de répartition téléphonique.
Il est également possible d’installer l’équipement réseau et Internet (modem routeur switch adsl) et un dispositif de brassage. Changer facilement l’affectation des prises de communication : certaines dédiées au téléphone, d’autres dédiées à Internet et au réseau informatique.

Câblage et tableau électrique : Réseau de communication
Il doit être réalisé en étoile, à partir du coffret de communication. Le tableau ci-dessous indique le type de câble et le type de prise en fonction des médias à diffuser sur cette prise.
